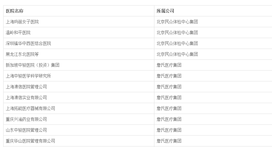
近日,关于“魏则西事件”的新闻愈演愈烈,百度也因此身陷舆论漩涡。随着事件的发展,我们逐渐意识到,莆田系医院的势力已遍布全国,时常出现在我们身边。如今,网友们为全国用户精心制作了一个莆田系医院在线查询系统,覆盖全国范围,方便广大用户通过电脑或手机进行查询。同时,如果您发现系统中缺失的信息或无法查询的地方,也欢迎您在系统上提交相关莆田系医院的信息。
【莆田系医院查询在线系统:】

莆田系医院查询系统介绍:
在关注魏则西事件的过程中,我们希望借此避免类似悲剧的重演。此列表汇集了莆田系医院的信息,但并不对其合法性进行评判。
若您知晓相关莆田系医院,并希望在页面上展示,请点击提交莆田系医院信息。
莆田系医院核查流程 | 错误与建议反馈 | 数据提交API与独立小挂件
推荐:丁香医生APP,值得信赖的信息与服务。(声明:无利益相关)
丁香医生App下载地址:
由于部分医院外包情况较为复杂,个人能力有限,期待朋友们共同指正详细信息,避免一刀切。如需联系,请发送邮件至:poach123@126.com
莆田系医院核查流程:
我承诺莆田系医院查询是逐条人工审核的,许多朋友好意提醒我分享具体的核查流程(putian.huanxi.me),以防受到质疑。
以下以洛阳博爱眼科医院为审核案例:
1、网友提交数据至后台

2、访问全国企业信用信息公示系统(http://gsxt.saic.gov./),选择相应省份进行查询。

3、观察其合伙人信息

4、可进一步反查投资公司信息

至此,可以确认该医院为莆田系医院。
如无法判定,可使用Google搜索相关评论与新闻,以判断其是否属于莆田系。通常情况下,工商查询已能提供相关信息,但仍可能出现遗漏。
个人的力量始终有限,期待更多朋友与我携手维护这个列表。
莆田系医院在线查询系统相关下载
- 查看详情 帮管家店铺POS收银管理系统 中文 2025-06-15
 - 查看详情 材料计算大师 中文 2025-06-15
 - 查看详情 超易电子档案管理系统 中文 2025-06-15
 
莆田系医院在线查询系统相关文章

        






